在线询价
产品展示 PRODUCT SERIES
首页 > 产品展示
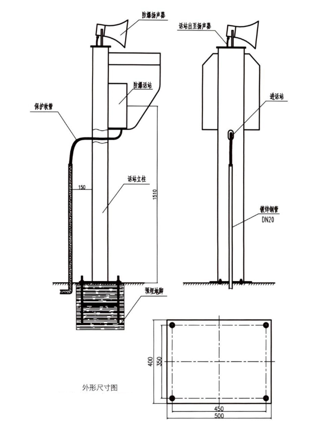
HAF221立柱 价格:

在线询价
详细内容

© 2025 南通恒星防爆通讯设备科技有限公司  All Rights Reserved.   备案号:苏ICP备2021037797号-2 腾云建站仅向商家提供技术服务